Skip to content
EDUCATIONAL STUFFS
EDUCATIONAL STUFFS

An Ocean of Information

  • Home
  • SSC
    • SSC CGL
    • SSC CHSL
    • SSC JE
  • DIPLOMA
    • Engineering Drawing
    • Elements of Workshop Technology
    • Operations Management
    • Applied Mehanics
    • Strength of Materials
    • Materials Science
  • UPSC
    • Geography
  • Previous Year Papers
    • DSSSB
      • MOCK TEST
      • PAPERS
    • KENDRIYA VIDYALAYA
      • PRACTICE SETS
    • CTET
      • Assessment
      • Debates
      • Development
      • Disability
      • Emotional
      • Gender
      • Gifted
      • Inclusive
      • Intelligence
      • Kohlberg
      • Language
      • Motivation
      • Piaget
      • Socialization
      • Thinking
      • Vygotsky
  • MISCELLANEOUS
    • Road Safety
    • Multiple Choice Questions (MCQs)
      • Electrician
      • Fitter
      • Mechanic Diesel
      • Employability Skills
      • Welder
      • Workshop Calculation & Science
  • STORIES
  • About US
  • Contact Us
EDUCATIONAL STUFFS

An Ocean of Information

November 2, 2022April 17, 2023

फिटर- हाइड्रोलिक और न्यूमेटिक्स MCQ

FITTER ट्रेड के लिए हाइड्रोलिक और न्यूमेटिक्स से संबंधित बहुविकल्पीय प्रश्नों (MCQs) के इस सेट के साथ अपनी परीक्षाओं की तैयारी करें। प्रश्नों को उपयोगकर्ता के ज्ञान या फिटर अवधारणाओं की समझ का परीक्षण करने के लिए डिज़ाइन किया गया है और परीक्षा की तैयारी या स्व-मूल्यांकन के लिए उपयोगी हो सकता है। फिटर बनने के लिए अध्ययन करने वाले या फिटिंग सिद्धांतों की अपनी समझ में सुधार करने की मांग करने वाले व्यक्तियों के लिए वेबसाइट एक सहायक संसाधन हो सकती है।

हाइड्रोलिक और न्यूमेटिक्स

हाइड्रोलिक पंप में किस ऊर्जा को परिवर्तित किया जाता है?
एक ही दिशा में द्रव प्रवाह की अनुमति देने और विपरीत दिशा में प्रवाह को ब्लॉक करने के लिए किस वाल्व का उपयोग किया जाता है?
निरपेक्ष दबाव (ऐब्सलूट प्रेशर) की गणना करने के लिए किस सूत्र का उपयोग किया जाता है?
SI इकाई में बल की इकाई क्या है?
1,00,000 पास्कल के बराबर दबाव की एक मीट्रिक इकाई के लिए कौन सा शब्द है?
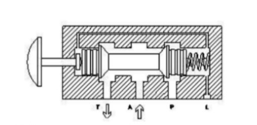
इस वाल्व का नाम क्या है?
SI इकाई में प्रेशर की इकाई क्या है?
स्पूल स्लाइड के माध्यम से किस प्रकार के वाल्व कनेक्शन को खोला या बंद किए जाते हैं?
किस वाल्व में हाइड्रोलिक / न्यूमेटिक सिस्टम में दो इनलेट अथवा एक आउटलेट होता हैं?
हाइड्रोलिक ट्रांसमिशन बल कैसे नियंत्रित होता है?
कौन सा वाल्व हाइड्रोलिक सिस्टम में अत्यधिक दबाव से बचाता है?
वायुमण्डलीय दबाव के ऊपर कौन सा गेज दबाव वाल्व को इंगित करता है?
प्रेशर गेज के माध्यम से किस दबाव मान को पढ़ा जाता है?
हाइड्रोलिक पंप में फिल्टर सक्शन लाइन में क्यों फिट किया जाता है?
पाइप लाइन में प्रवाह के महीन नियंत्रण (फाइन कण्ट्रोल) के लिए किस वाल्व का उपयोग किया जाता है?
प्रेशर की गणना करने के लिए किस सूत्र का उपयोग किया जाता है?
इस न्यूमेटिक प्रतीक का नाम क्या है?
हाइड्रोमीटर को डिजाइन करने के लिए कौन सा पैरामीटर निर्दिष्ट किया जाता है?
दिशा नियंत्रण वाल्वों को कैसे वर्गीकृत किया जाता है?
दिशा कंट्रोल वाल्व का प्रकार क्या है?
कौन सा गेज हाइड्रोलिक सिस्टम में द्रव दबाव की मात्रा को इंगित करता है?
कौन सी प्रणाली में ऊर्जा इनपुट के रूप मे संपीड़ित हवा (कंप्रेस्ड एयर) प्राप्त करती है?
ह विज्ञान क्या है जिसके तहत आप वायु के गुणों और अनुप्रयोग का अध्ययन करते हैं?
परफेक्ट वैक्यूम के संबंध में कौन सा दबाव मान मापा जाता है?
कम एफर्टस के साथ लोड को मूव करने के लिए किस सिस्टम का उपयोग किया जाता है?
वायुचलित के अनप्रुयोगों के नीचे कौन सा प्रवर्तन है?
द्रव के प्रवाह की दिशा को नियंत्रित करने के लिए कौन से वाल्व का उपयोग किया जाता है?
किस प्रणाली में तरल को संचरित द्रव के रूप में प्रयोग किया जाता है?
सिगंल एक्टिंग सिलेंडर का कौन सा भाग लोड के साथ जुड़ा होता है?
न्यूमेटिक में किस उपकरण का उपयोग संपीड़ित हवा के दबाव ऊर्जा को यांत्रिक ऊर्जा में परिवर्तित करने के लिए किया जाता है?
मशीन ऑटोमेशन सिस्टम में मैकेनिकल पोजीशन को सेंस करने के लिए किस यांत्रिक वाल्व का उपयोग किया जाता है?
विभिन्न आकारों के विशेष पदार्थ को फ़साने लिए किस प्रकार के फिल्टर का उपयोग किया जाता है?
हाइड्रोलिक सिस्टम में तेल की अतिरिक्त मात्रा को हटाने के लिए किस वाल्व का उपयोग किया जाता है?

 

 

अधिक प्रैक्टिस सेट के लिए- यहां क्लिक करें

Fitter MISCELLANEOUS Multiple Choice Questions (MCQs) 00000 pascal?000 पास्कल?bharat skillbharat skillsbharat skills mcqbharat skills multiple choice questionbharat skills multiple choice question bankbharat skills multiple choice questionsbharat skills practice questionsbharat skills questionscloth?degreeDelhi Skill and Entrepreneurship Universitydiplomadseuelectricalelectrical engineeringelectrical tradeFitterfitter tradeHow direction control valves are classified?How hydraulic transmission force is controlled?What is the science that you study the properties and application of air?What is the unit of force in SI unit?Which actuation is under the applications of pneumatics?Which device in pneumatics is used for converting pressure energy of compressed air in to mechanical energy?Which energy is converted in hydraulic pump?Which formula is used to calculate the absolute pressure?Which formula is used to calculate the pressure?Which gauge indicates pressure valve above the atmospheric pressure?Which gauge indicates the amount of fluid pressure in the hydraulic system?Which parameter is specified to design hydrometer?Which part of the single acting cylinder is attached with the load?Which pressure value is measured with respect to perfect vacuum?Which pressure value is read through pressure gauge?Which system gets compressed air as energy inputs?Which system is used to move load with less efforts?Which term is a metric unit of pressure equal to 1Which type of filter is used for trapping various sizes of particular matter?Which type of valve connections are opened or closed by means of spool slide?Which valve has two inlet / one outlet in hydraulic or pneumatic system?Which valve is used for fine control of flow in pipe line?Which valve is used for mechanical position to sense in machine automation system?Which valve is used to control the direction of the flow of fluid?Which valve is used to permit fluid flow in one direction and block flow in opposite direction?Which valve is used to remove the excess amount of oil in the hydraulic system?Which valve protect against excessive pressure in hydraulic system?Why in hydraulic pump the filter is installed in suction line?इलेक्ट्रिकलइलेक्ट्रिकल इंजीनियरिंगइलेक्ट्रिकल ट्रेडऊर्जा इनपुट के रूप में कौन सी प्रणाली संपीड़ित हवा प्राप्त करती है?एक दिशा में द्रव प्रवाह की अनुमति देने और प्रवाह को अवरुद्ध करने के लिए किस वाल्व का उपयोग किया जाता है? में विपरीत दिशा?एकल अभिनय सिलेंडर का कौन सा हिस्सा लोड से जुड़ा हुआ है?एसआई इकाई में बल की इकाई क्या है?कपड़ा?कम प्रयासों के साथ लोड को स्थानांतरित करने के लिए कौन सी प्रणाली का उपयोग किया जाता है?किस प्रकार का फ़िल्टर विशेष पदार्थ के विभिन्न आकारों को फंसाने के लिए उपयोग किया जाता है?किस वाल्व का उपयोग ठीक नियंत्रण के लिए किया जाता है? पाइप लाइन में प्रवाह?कौन सा गेज वायुमंडलीय दबाव के ऊपर दबाव वाल्व को इंगित करता है? ई?कौन सा गेज हाइड्रोलिक सिस्टम में द्रव दबाव की मात्रा को इंगित करता है?कौन सा शब्द 1 के बराबर दबाव की मीट्रिक इकाई हैडायरेक्शन कंट्रोल वॉल्व को कैसे वर्गीकृत किया जाता है?डिग्रीडिप्लोमाडीएसईयूतरल पदार्थ के प्रवाह की दिशा को नियंत्रित करने के लिए किस वाल्व का उपयोग किया जाता है?दबाव की गणना के लिए किस सूत्र का उपयोग किया जाता है?दिल्ली स्किल एंड एंटरप्रेन्योरशिप यूनिवर्सिटीनिरपेक्ष दबाव की गणना के लिए किस सूत्र का उपयोग किया जाता है?न्यूमेटिक्स के अनुप्रयोगों के तहत कौन सा एक्चुएशन है?न्यूमेटिक्स में किस उपकरण का उपयोग संपीड़ित हवा की दबाव ऊर्जा को यांत्रिक ऊर्जा में परिवर्तित करने के लिए किया जाता है?पूर्ण वैक्यूम के संबंध में कौन सा दबाव मान मापा जाता है? ?प्रेशर गेज के माध्यम से कौन सा दबाव मान पढ़ा जाता है?फिटरफिटर ट्रेडभारत कौशलभारत कौशल अभ्यास प्रश्नभारत कौशल एमसीक्यूभारत कौशल प्रश्नभारत कौशल बहुविकल्पीय प्रश्नमशीन ऑटोमेशन सिस्टम में यांत्रिक स्थिति को समझने के लिए किस वाल्व का उपयोग किया जाता है?वह कौन सा विज्ञान है जिसके गुणों और अनुप्रयोग का आप अध्ययन करते हैं वायु?स्पूल स्लाइड के माध्यम से किस प्रकार के वाल्व कनेक्शन खोले या बंद किए जाते हैं?हाइड्रोमीटर डिजाइन करने के लिए कौन सा पैरामीटर निर्दिष्ट है?हाइड्रोलिक ट्रांसमिशन फोर्स को कैसे नियंत्रित किया जाता है?हाइड्रोलिक पंप में कौन सी ऊर्जा परिवर्तित होती है? ?हाइड्रोलिक पंप में सक्शन लाइन में फिल्टर क्यों स्थापित किया जाता है?हाइड्रोलिक या वायवीय प्रणाली में किस वाल्व में दो इनलेट / एक आउटलेट होते हैं?हाइड्रोलिक सिस्टम में अत्यधिक दबाव से कौन सा वाल्व रक्षा करता है?हाइड्रोलिक सिस्टम में तेल की अधिक मात्रा को हटाने के लिए किस वाल्व का उपयोग किया जाता है?

Post navigation

Previous post
Next post

Leave a Reply Cancel reply

Your email address will not be published. Required fields are marked *

Archives

Categories

Pages

  • About US
  • Contact Us
  • Legal Disclaimer
©2026 EDUCATIONAL STUFFS | WordPress Theme by SuperbThemes