Skip to content
EDUCATIONAL STUFFS
EDUCATIONAL STUFFS

An Ocean of Information

  • Home
  • SSC
    • SSC CGL
    • SSC CHSL
    • SSC JE
  • DIPLOMA
    • Engineering Drawing
    • Elements of Workshop Technology
    • Operations Management
    • Applied Mehanics
    • Strength of Materials
    • Materials Science
  • UPSC
    • Geography
  • Previous Year Papers
    • DSSSB
      • MOCK TEST
      • PAPERS
    • KENDRIYA VIDYALAYA
      • PRACTICE SETS
    • CTET
      • Assessment
      • Debates
      • Development
      • Disability
      • Emotional
      • Gender
      • Gifted
      • Inclusive
      • Intelligence
      • Kohlberg
      • Language
      • Motivation
      • Piaget
      • Socialization
      • Thinking
      • Vygotsky
  • MISCELLANEOUS
    • Road Safety
    • Multiple Choice Questions (MCQs)
      • Electrician
      • Fitter
      • Mechanic Diesel
      • Employability Skills
      • Welder
      • Workshop Calculation & Science
  • STORIES
  • About US
  • Contact Us
EDUCATIONAL STUFFS

An Ocean of Information

October 23, 2022April 16, 2023

FITTER- Drill Jig MCQ

Prepare for your examinations with a set of multiple choice questions (MCQs) related to Drill JigĀ for FITTER Trade. The questions are likely designed to test a user’s knowledge or understanding of Fitter concepts and may be useful for exam preparation or self-assessment. The website may be a helpful resource for individuals studying to become Fitter or seeking to improve their understanding of Fitting principles.

 

DRILL JIG

Which type of jig do not have base plate?
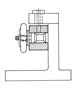
What is the name of jig?
What is the name of clamp?
What is the name of jig?
Which type of bush is used in jig to perform more than one operation in same location?
What is the purpose of grooves provided in the c Channel jig 'V' blocks?|
Which is the important factor to determine the construction of fixture?
Why the balancing weight is provided in the turning fixture?
What is the purpose of setting blocks used in the fixture?
Which type of fixture is used for machining on evenly spaced surfaces?
Which type of jig is used for awkwardly shaped work piece to drill at different angles?
Which device holds, supports, locates and also guide the cutting tool for operation?
What is the name of clamp used in jig?
What is the name of jig?
Why two or four hold down slots are provided in the base plate of milling fixture?
Which bush is used to provide a hardened hole for renewable bushes?
Which part restrict incorrect loading of component in jig?
What is the type of jig?
What is the name of clamp?
Why tenons are provided at the bottom of base plate of milling fixture?
Which device is used to hold, locate and not guide the cutting tool during machining operation?
Which type of fixture provides an easy method of holding parts for machining?

 

 

For more Practice Sets- CLICK HERE

Fitter MISCELLANEOUS Multiple Choice Questions (MCQs) bharat skillbharat skillsbharat skills mcqbharat skills multiple choice questionbharat skills multiple choice question bankbharat skills multiple choice questionsbharat skills practice questionsbharat skills questionscloth?degreeDelhi Skill and Entrepreneurship Universitydiplomadseuelectricalelectrical engineeringelectrical tradeFitterfitter tradelocate and not guide the cutting tool during machining operation?locates and also guide the cutting tool for operation?supportsWhat is the purpose of grooves provided in the c Channel jig 'V' blocks?|What is the purpose of setting blocks used in the fixture?Which device holdsWhich device is used to holdWhich is the important factor to determine the construction of fixture?Which part restrict incorrect loading of component in jig?Which type of bush is used in jig to perform more than one operation in same location?Which type of fixture is used for machining on evenly spaced surfaces?Which type of fixture provides an easy method of holding parts for machining?Which type of jig do not have base plate?Which type of jig is used for awkwardly shaped work piece to drill at different angles?Why tenons are provided at the bottom of base plate of milling fixture?Why the balancing weight is provided in the turning fixture?

Post navigation

Previous post
Next post

Leave a Reply Cancel reply

Your email address will not be published. Required fields are marked *

Archives

Categories

Pages

  • About US
  • Contact Us
  • Legal Disclaimer
©2026 EDUCATIONAL STUFFS | WordPress Theme by SuperbThemes